Villain 커뮤니티
18+
큐냅 블랙프라이데
AMD 최신 특허, 멀티 칩 DRAM 방식으로 메모리 성능 대폭 향상… APU에도 큰 혜택
조딱러 쪽지 승인 : 2025-09-27 23:03:57
0
0

AMD의 최신 DRAM 관련 특허는 DRAM 실리콘을 더 빠르게 만들지 않고도 메모리 대역폭을 사실상 두 배로 늘릴 수 있도록 설계되었습니다. 이는 모듈 내 로직을 변경하는 방식으로 구현됩니다.

 

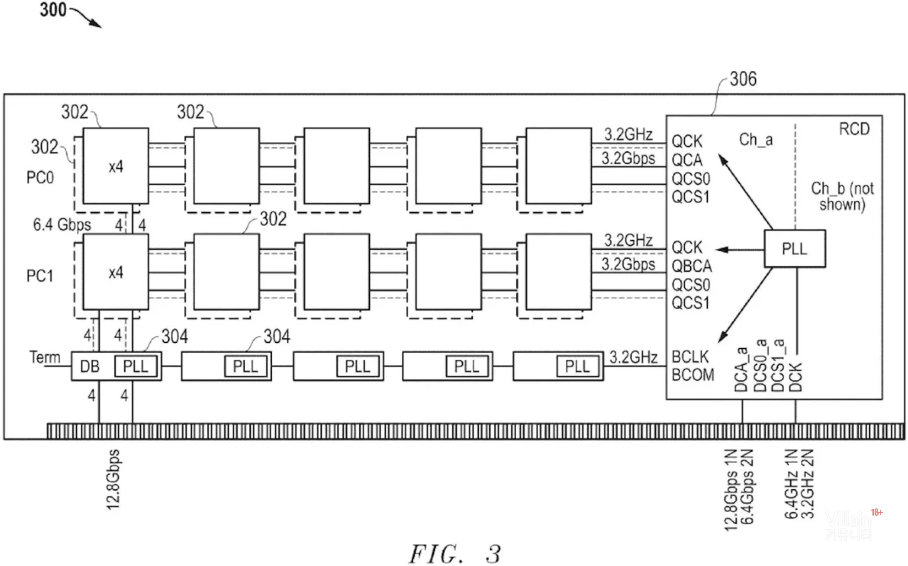
하드웨어 중심 업그레이드는 일반적으로 아키텍처를 개선하거나 로직·반도체 활용 방식을 개편해야 하기 때문에 한계가 따릅니다. 그러나 AMD의 이번 특허는 비교적 간단한 방법으로 DDR5 메모리 대역폭을 두 배로 늘리는 데 성공했습니다. AMD는 이를 ‘고대역폭 DIMM(HB-DIMM)’이라고 명명했습니다. DRAM 공정 업그레이드에만 집중하는 대신, 이번 특허는 메모리 대역폭을 높이기 위해 RCD(레지스터/클록 드라이버)와 데이터 버퍼 칩을 통합하는 등 DIMM 중심의 변화를 적용했습니다.

이 구현의 기술적 세부 사항을 살펴보면, HB-DIMM 기술은 DRAM 자체 개선에 초점을 두지 않습니다. 단순한 재타이밍과 멀티플렉싱을 통해, 메모리 대역폭은 핀당 6.4 Gb/s에서 12.8 Gb/s로 증가하여 출력이 사실상 두 배로 늘어납니다. RCD를 통해 AMD는 온보드 데이터 버퍼를 활용해 두 개의 일반 속도 DRAM 스트림을 하나의 고속 스트림으로 프로세서에 전달할 수 있도록 하였고, 이를 호스트 시스템에 할당할 경우 대역폭이 두 배로 늘어납니다.

 

이 기술은 주로 AI나 대역폭 제한이 있는 워크로드를 위해 설계되었지만, 특허에서는 APU/iGPU와 관련된 또 다른 흥미로운 구현도 언급하고 있습니다. 여기서는 두 가지 다른 ‘메모리 플러그’를 사용하는 방식인데, 표준 DDR5 PHY와 추가된 HB-DIMM PHY가 그것입니다. 더 큰 메모리 풀은 DDR5에서 제공되고, 작은 메모리 풀은 앞서 설명한 HB-DIMM 방식을 통해 데이터를 훨씬 빠르게 이동시키는 용도로 사용됩니다.

APU의 경우, 이 접근법은 온디바이스 AI에 가장 적합합니다. 시스템이 많은 데이터를 스트리밍하며 AI 작업을 처리할 때, 더 빠른 응답 속도가 요구되기 때문입니다. 전통적인 시스템에서도 엣지 AI의 중요성이 커지고 있는 만큼, 이 방식은 AMD에 큰 이점을 가져다줄 것으로 보입니다. 다만, 이 접근법의 유일한 단점은 높은 메모리 대역폭을 지원하기 위해 전력 소모가 늘어난다는 점이며, 이에 따라 효과적인 냉각 메커니즘도 필요합니다.

 

참고로, AMD는 메모리 분야에서 선도적인 기업 중 하나입니다. 잘 모르는 사람을 위해 설명하면, AMD는 SK하이닉스와 협력하여 HBM을 설계했는데, 이는 이들이 해당 분야에서 전문성을 갖추고 있음을 보여줍니다. HB-DIMM 방식은 DRAM 실리콘을 개선하지 않고도 메모리 대역폭을 사실상 두 배로 늘릴 수 있기 때문에 매우 유망한 접근법으로 평가됩니다.

 

https://wccftech.com/amd-newest-patent-brings-a-gigantic-boost-to-memory-performance/

0
0
By 기사제보 및 정정요청 = master@villain.city
저작권자ⓒ 커뮤니티 빌런 18+ ( Villain ), 무단전재 및 재배포 Ai 학습 포함 금지
관련기사 관련기사가 없습니다.
Comment
인텔 게이머데이
Today Ranking
  • 종합
  • 뉴스/정보
  • 커뮤니티
  • 질문/토론
커뮤니티 빌런 18+ ( Villain ) Beta 2.0
본사 l 서울 금천구 가산디지털1로 33-33 대륭테크노타운2차 7층 705-5호
대표전화 l 010-4588-4581 | 서비스 시작일 l 2025-08-15
커뮤니티 빌런 18+ ( Villain ) 의 모든 콘텐츠(영상,기사, 사진)는 출처를 표기하는 조건으로 무단 전재와 복사, 배포 등을 허용합니다.
Copyright © 커뮤니티 빌런 18+ ( Villain ) All Rights Reserved.
광고
호스팅 로고